wumiancaijing.com

/
杭州“六小龙”里的大多数公司,还将长期处于烧钱阶段,对外部融资的渴求,不可能会少。
重要提醒!!!为防失联,请“星标”我们!进入无冕财经公众号,点击右上角“...”,再“”,以便您及时接收每篇推送~
作者:谭嘉琳
编辑:陈涧
设计:岚昇
Deepseek的热度从开年延续至今,还顺便带火了“杭州六小龙”概念。
除了Deepseek,把机器人送上春晚扭秧歌的宇树科技,和去年用《黑神话·悟空》惊艳游戏圈的游戏科学,全都出自这“六小龙”。
2月14日,“六小龙”之一的群核科技递交上市申请,进军港股。虽然没有上面几家公司的名气大,但群核科技打的是“全球空间智能第一股”的名头。
所谓“空间智能”,指AI要理解、推理三维世界并且对其进行交互。这个概念彻底火起来,还是因为去年9月硅谷“AI教母”李飞飞成立大世界模型企业World Labs,Adobe、AMD以及英伟达等科技大厂都纷纷投钱。
而杭州的群核科技,称自己早在13年前创业时就想做物理世界的模拟运算,还要做出一个区别于Sora的“物理世界模拟器”。
打着“GPU算力集群+物理世界模拟器”的大旗,群核科技率先启动“六小龙”里首个IPO。另外五条“小龙”会不会闻风而动,掀起融资大潮?
钱不够用,等着上市补充
群核科技的创始人黄晓煌曾说,“AI通往物理世界的桥梁肯定不是ChatGPT,而是把物理世界映射到数字世界”。
与之对标的,是公司在去年11月发布的群核空间智能平台(SpatialVerse)。外界可以将其理解为一个集合了大量物理数据的平台,模拟出一个三维世界,以供机器人在上面进行训练,从而降低测试成本。
据报道,2018年,SpatialVerse还在筹备,就引来不少硅谷大厂发邮件求合作;真正发布后,也跟“华为天才少年”彭志辉的智元机器人达成了合作。
不过,在这次冲刺上市的消息之前, 群核科技在外界的印象里,更多是家居行业的设计软件公司。
2013年,创立两年的群核科技推出软件“酷家乐”,提供家居设计中的画图、排料、管理订单等服务。黄晓煌透露,创业时团队当时是先做出了云端GPU的渲染能力,再“拿着这个锤子到处找钉子”,试过机器人、电影等都反响平平后,误打误撞进入了家居行业。
这一“转行”,群核科技开始发展迅猛。2023全年,群核科技总营收6.64亿,成为国内最大的空间设计软件提供商,占据22.2%的市场份额。
2021年,群核科技还以“3D云设计第一股”去纳斯达克申请上市,当时的估值超过20亿美元,但以失败告终。
如今,机器人行业爆发,群核科技瞄准空间智能训练的需求,再次冲刺上市。而在外界看来,这是群核科技在趁着风口抓紧融资。
观察群核科技的财务数据可知,公司的资金状况不太乐观。
2022年、2023全年及2024年前三季度,群核科技总营收6亿元、6.64亿和5.53亿元,同期却分别亏损7.04亿、6.46亿和4.22亿元。连续几年净亏不赚,是因为作为新秀企业,群核科技把大量的钱砸在营销和研发上。以2024年前三季度为例,群核科技的营销开支和研发成本分别为2.48亿和2.63亿元,占总收入58.8%和62.3%。

▲群核科技的财务数据。图片来自招股书。
负债和现金流压力更是紧迫。截至2024年前三季度, 群核科技的负债总额为42.55亿元,其中流动负债41.32亿元;期末现金及现金等价物为2亿元,比2022年末的5.77亿元缩水超过65%。
即使酷家乐在业内份额尚可,但也难以弥补群核科技的资金回笼问题。更何况,“AI加持画图”的定位并没有筑起护城河。
2024前三季度,群核科技毛利率为80.4%,而友商中望软件在同期的毛利达到97.35%。此外,据群核科技招股书,其在2023年22.2%的市场份额,也没与第二名的21.9%、第三名的16.4%拉开多少距离。

▲酷家乐与友商的市场份额。图片来自招股书。
现在,群核科技以“空间智能”上市,主推SpatialVerse,更是会持续烧钱。经测算,群核科技来自设计软件的营收占97%以上,真正的“空间智能”业务还没成体系,后续的基础设施、研发和营销都等着钱。
“五小龙”融资潮要来?
群核科技要上市融资,另外“五小龙”的钱够用吗?
除了群核科技外,“六小龙”还包括Deepseek、做脑机接口的强脑科技、做机器人和机器狗的宇树科技和云深处科技,以及《黑神话:悟空》的制造商游戏科学。
可以看见,除了商业化已经很成熟的游戏行业,大模型、机器人还有群核科技要做的空间智能,商业落地还没被摸透。也就是说, “六小龙”里的大多数公司,还将长期处于烧钱研发和营销的阶段。
2月18日,马斯克甩出“地球上最聪明的AI”大模型Gork 3,声称训练消耗了20万张英伟达GPU(每张成本约在3万美元),可见行业“烧钱”之程度。而以“超绝性价比”著称的Deepseek,即使净算力成本超低,但前期研究、试错等隐性成本以及服务器运营都是巨额支出,是没有算在那“557.6万美元训练成本”里的。
据数据机构SemiAnalysis指出,DeepSeek的总成本在4年内可能达到25.73亿美元。
近日就有传言称Deepseek可能开始考虑外部融资。不过,背靠幻方量化、不差钱的Deepseek出来辟谣。但剩下的几家就另当别论了。
以宇树科技为例,别看其所在的机器人赛道还很新,“内卷”的风已经刮起来了。
据金融界,宇树科技内部人员透露,未来还有可能将四足机器人也打到消费级别,有概率将目前平均一万的价格降到三四千。
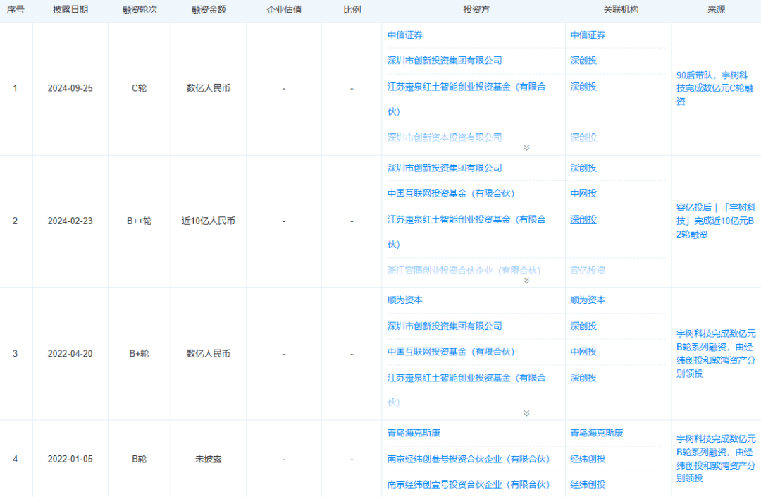
另一边, 股东们正积极给宇树科技“注血”。此前,宇树科技已经完成了9轮融资,其中去年9月的C轮融资、去年2月的B++轮融资都是亿元人民币级别的。据上海证券报,近期宇树科技似乎完成了C+轮融资,新股东是通过与个别老股东转股进来的。

▲宇树科技的融资历程(部分)。图片来自天眼查。
再看脑机接口行业,据上海证券报,“六小龙”中的强脑科技目前融资规模约为约3亿美元。而全球范围内,脑机接口企业的融资能超过2亿美元的,除了马斯克的Neuralink,就是杭州的强脑科技。
天眼查显示,强脑科技的上一轮融资还发生在2019年,具体金额未知,但当时的估值达到4亿美元。如今趁着“六小龙”大热,强脑科技也很可能迎来新一轮“输血”。
就连沉寂了半年的游戏科学,近期也流出融资传闻, 其上一轮融资还发生在2021年。
二级市场也早就按捺不住了。例如,宇树科技的产业链合作商长盛轴承在本月以来已经涨超82%,2月17日起更是出现三天两板;其间接股东金发科技也于2月19日涨停。
不论一级还是二级市场,都是一派追着“六小龙”投钱的景象。群核科技冲刺上市,只是拉开了“六小龙”资本故事的序幕……
联系入群 | 加微信:Damian0601
●张近东忙着破产重组,张康阳还在当富二代
●昔日“股王”,又一次疯狂
●刘强东不信邪,挑战美团王兴
版权声明
上一篇:2月20日东华软件涨10.02%,华宝中证金融科技主题ETF基金重仓该股
下一篇:苹果发布全新机型iPhone 16E,机构看好AI推动消费电子换机,消费电子ETF(561600)午后翻红,AI人工智能ETF(512930)近1周涨幅居同类第一